產品概述
上明牌電動法蘭蝶閥有開關型和智能型二種,蝶閥與DTR執行機構配套,輸入控制信號(4~20mADC或1~5VDC)及單相電源即可控制運轉,具有功能強、體積小、輕便宜人,性能可靠、配套簡單、流通能力大,特別是適合于介質是粘稠、含顆粒、纖維性質的場合。目前明精調節閥廣泛應用于食品、環保、輕工、石油、造紙、化工、教學和科研設備、電力等行業的工業自動控制系統中。
閥體:
公稱通徑:50-400mm
公稱壓力:PN1.0,1.6,2.5MPa
連接形式:法蘭式按JB/T78-59 JB79-59對夾式法蘭連接
材 料:HT200 ZG25I ZG1Cr18Ni9
ZG0Cr17Ni12Mo2 襯四氟
介質溫度:常溫型:-20oC~+200oC 散熱型:-40oC~+450oC
閥內組件:
閥芯形式:閥板
流量特性:直線特性或等百分比特性
材 料:HT200 ZG25I 1Cr18Ni9Ti襯橡膠襯四氟乙烯四、執行機構:類型:可選用PS系列、3810、DTR系列電子式角行程執行機構。
技術參數和性能:請參閱對應的執行機構與閥門定位器說明書。
規格參數表:
公稱通徑DN | 50 | 65 | 80 | 100 | 125 | 150 | 200 | 250 | 300 | 350 | 400 |
流量系數(Kv) | 110 | 180 | 232 8 | 368 | 656 | 735 | 1240 | 2025 | 2712 | 3875 | 503 |
動作范圍 | 0-90o | ||||||||||
允許壓差△P | 小于公稱壓力(1.6MPa) | ||||||||||
泄漏量Q | 按GB/T4213-92,為Kv值的10-4 | ||||||||||
環境溫度oC | -20~60oC | ||||||||||
基本誤差 | ±2.5% | ||||||||||
回差 | ±2.5% | ||||||||||
死區 | 1% | ||||||||||
可調范圍 | 250:1 350:1 | ||||||||||
配用執行機構 | DTR—05 10PSQ101381RSA-05 | DTR— 20PSQ201381RSC-30 | DTR-40PSQ501381RSC-50 | DTR-60PSQ701 | |||||||

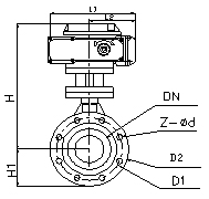
尺寸:
公稱通徑DN | L閥度 | H | H1 | D2 | Z-фd | D1 | L1 | L2 |
50 | 43 | 452 | 80/112 | 120/125 | 4-18 | 165 | 208 | 120 |
65 | 46 | 475 | 88/115 | 136/145 | 4-18 | 185 | 208 | 120 |
80 | 46/49 | 516 | 96/120 | 160 | 8-18 | 200 | 208 | 120 |
100 | 52/56 | 551 | 115/140 | 185 | 8-18 | 220 | 208 | 120 |
125 | 56/64 | 566 | 128/170 | 210 | 8-18 | 220 | 208 | 120 |
150 | 56/70 | 606 | 140/180 | 240 | 8-22 | 285 | 256 | 156 |
200 | 60/71 | 731 | 175/210 | 295 | 8-22 | 340 | 256 | 156 |
250 | 68/76 | 778 | 202/240 | 355 | 12-22 | 395/405 | 256 | 156 |
300 | 78/83 | 830 | 242/290 | 410 | 12-22 | 445/460 | 256 | 156 |
350 | 78/92 | 996 | 266/320 | 470 | 16-22 | 505/520 | 346 | 156 |
400 | 102 | 1058 | 298/350 | 515/525 | 16-26 | 565/580 | 346 | 156 |
注:表中數據XX/XX,“H1”為軟密封/硬密封;“D1、D2”為壓力1.0Mpa/1.6Mpa